从阿里巴巴“退休”的张勇,5354万港元购入希慎旗下香港半山豪宅
红星资本局10月26日消息,从阿里巴巴“退休”的张勇,近日有了新动态。 10月24日,港股上市公司希慎兴业(00014.HK)发布公告称,当日全资子公司广运作为...
红星资本局10月26日消息,从阿里巴巴“退休”的张勇,近日有了新动态。 10月24日,港股上市公司希慎兴业(00014.HK)发布公告称,当日全资子公司广运作为...
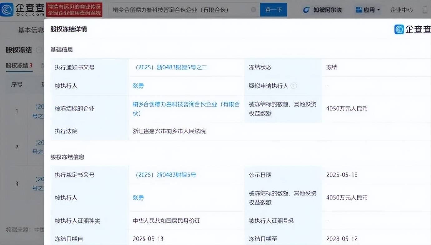
5月26日,据白鹿视频消息,企查查APP显示,近日,张勇新增一条股权冻结信息,冻结股权数额4050万元人民币,被冻结标的企业为桐乡合创德力叁科技咨询合伙企业(有...